Bİ-METAL KONDENSTOP

ÜRÜN KATEGORİLERİ

Bİ-METAL KONDENSTOP

Bİ-METAL KONDENSTOP

Bİ-METAL KONDENSTOP
Bİ-METAL KONDENSTOP
Bİ-METAL KONDENSTOP
Ürün Bilgileri
Ürün Adı - Bİ-METAL KONDENSTOP
MODEL NST-21
Ürün Kategorisi - · Nordsteam Buhar ve Akış Kontrol Ekipmanları · Kondenstoplar · Bi-Metal Kondenstoplar
Ürün Markası - Nordsteam

Ürün Özellikleri
Bİ-METAL KONDENSTOP

NST21 orta basınç sınıfında, ısıya duyarlı bakım yapılabilir tipte bir kondenstoptur. Çalışma elementi üst üste oturmuş bi-metal disklerden oluşmuştur. Bu bi-metal diskler genleşme etkisi ile kondens, hava ve diğer yoğuşmayan gazları, doymuş buhar sıcaklığının altındaki sıcaklıklarda kontrol eder. Koç darbesine karşı ve korozyona karşı dayanıklıdır. Bakımı ve tamiri kolaydır.

MONTAJ 
Kondenstoplar, kolay bakım için ulaşılabilir pozisyon ve yere montaj edilmelidir. Ürün etiketindeki fark basıncı sistemin fark basınç değerinden daha büyük olmalıdır.
1.Potansiyel koç darbesi problemlerinin engellenmesi için tüm yatay hatlar kondenstopa doğru aşağı yönde eğimli olmalıdır.
2.Kondenstop önüne kir cebi ve pislik tutucu monte edilmelidir.
3.Kondenstopun test veya başka amaçlarla sökülmesi gerektiğinde sök tak işleminin kolay yapılabilmesi için kondenstopun montajında rakor veya flanş bağlantı ve giriş tarafına kesici vana kullanınız.
4.Çıkış borusuna bir test valfi monte ediniz. Bu kondenstopun test edilmesine imkan sağlar.
5.Çalıştırmadan önce hattı 5 dakika boyunca tam basınçta tahliye ederek hat içindeki tortu pislik vb.nin temizlenmesini sağlayınız.
6.Kondenstop devreye alındıktan 2 ile 3 gün sonra temizlik ve kontrol bakımı yapılmalıdır. Kondenstopun periyodik bakım süresi sistemin çalışma şartlarına bağlı olarak 6 ay ile 12 ay arasındadır.

BAKIM
Zamanında yapılan düzenli kontrol ve doğru bakımla ürününüzden en yüksek performansı ve uzun ömrü sağlarsınız. Kondenstop periyodik olarak kontrol edilmeli ve temizlenmelidir. Aşınmış parçalar yenisi ile değiştirilmelidir. Kondenstopu bakım için her açışınızda, kapak contasını yenisi ile değiştiriniz.

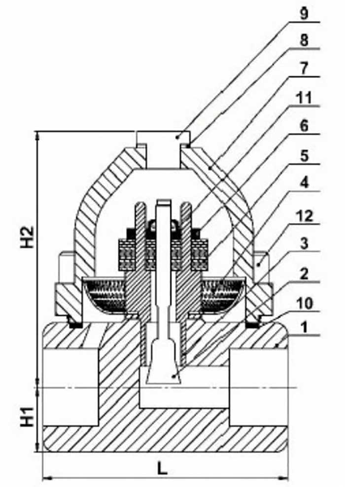
YEDEK PARÇALAR
No Açıklama Malzeme
1 GÖVDE KARBON ÇELİK
2 DİSK PASLANMAZ ÇELİK
3 SİT PASLANMAZ ÇELİK
4 SÜZGEÇ PASLANMAZ
5 Bİ-METAL METAL PLAKA FPA206-78
6 DİSK CONTASI PASLANMAZ ÇELİK
7 KAPAK KARBON ÇELİK 
8 CONTA PASLANMAZ ÇELİK + GRAFİT
9 KAPAK SOMUNU  35
10 GÖVDE CONTASI PASLANMAZ ÇELİK
11 DİSK SINIRLAYICI DISC STOPPER
12 KAPAK SAPLAMASI Gr.5

BOYUTLAR
Çap  L H1 H2
1/2 '' 95 mm 22 mm 100 mm
3/4 '' 95 mm 22 mm 100 mm
1 ” 95 mm 22 mm 100 mm
11/4 ” 200 mm 39 mm 140 mm
11/2 ” 200 mm 39 mm 140 mm
2 ” 230 mm 39 mm 140 mm

BAĞLANTI ŞEKLİ
ÇAPLAR  1/2’’  3/4’’ 1” 11/4”  11/2”  2”
AĞIRLIKLAR (KG) 2,7 2,7 2,5 3 3,7 4,7

ÇALIŞMA ŞARTLARI
MAX. BASINÇ (BAR) 40
MAX. SICAKLIK (ºC) 350
MAX. FARK BASINCI (BAR) 21