
NST55X Serbest şamandıralı kondenstoplar petrokimya, kağıt, gıda, petrol vb endüstrilerde buhar hatlarında ve ısıtma sistemlerinde kullanılmaktadır. Özellikle hızlı ısıtmanın gerekli olduğu ve sıcaklık kontrolünün hassas olduğu uygulamalarda tercih edilmektedirler. Aşınacak fazla parçası yoktur. Bundan dolayıda uzun ömürlüdür.Enerji tasarrufu sağlar. Hızlı şekilde devreye girer ve sürekli olarak kondens tahliyesi sağlar gürültü seviyesi düşüktür. Tamiri kolaydır. Üzerindeki geniş yüzeyli filtre sayesinde uzun süre problemsiz çalışır. Koç darbesine mukavemetlidirler.
MONTAJ
Kondenstoplar, bakım için kolay ulaşılabilir pozisyon ve yere monte edilmelidirler. Ürün etiketindeki fark basıncı, tüm sistemin fark basınç değerinden daha büyük olmalıdır. Kondenstopun düzgün çalışması için düz bir pozisyonda yatay olarak monte edilmesi gerekmektedir.
Kondenstopu kondensi tahliye edecek ekipmanın alt tarafına ve yakınına monte edin ve kondenstopun girişinde uzun yatay boru hattı bulunmasından kaçınınız.
Potansiyel koç darbesi problemlerinin engellenmesi için, tüm yatay hatları kondenstopa doğru aşağı yönde eğimli yapın.
Kondenstop önüne pislik tutucu monte edilmelidir.
Kondenstopun kolay bakımı ve test edilmesi için,kondenstopun her iki tarafına bağlantı için, rakor veya flanş ve kesici vana kullanınız.
Çıkış borusuna bir test valfi ve kep monte ediniz. Bu kondenstopun test edilmesine imkan sağlar. Kep, unite kullanılmadığı zaman, ön güvenlik önlemi olarak kullanılır .
Kondenstopu devreye almadan önce, hattı 5 dakika boyunca tam buhar basıncında tahliye edin. Bu temizleme işlemi hat içindeki kalıntıları ortadankaldıracaktır.
Sistem temizlenene kadar, çalışmaya başladığı ilk 2-3 gün kondenstopun bakım ve temizliğini yapın. Sonrasında kondenstopun periyodik bakımını sistemin normal çalışma şartlarında 6 /12 ayda bir kez yapın.
BAKIM
Zamanında yapılan düzenli kontrol ve doğru bakımla , NORDSTEAM NST55X serisi yüksek performans ve uzun ömür sağlayacaktır. Serbest şamandıralı termostatik kondenstopların içindeki parçalar, gövde hat üzerinden sökülmeden olduğu yerde değiştirilebilir. Kondenstop periyodik olarak kontrol edilmeli ve tüm çalışan parçalar kirden arındırılmalıdır.Aşınan parçalar yenisi ile değiştirilmelidir. Her bakım için kondenstopun açılışında kapak
contasını yenisi ile değiştiriniz.
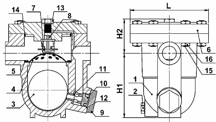
| No | Açıklama | Malzeme |
| 1 | Gövde | Karbon Çelik - Paslanmaz Çelik |
| 2 | Temizleme Tapası | Paslanmaz Çelik |
| 3 | Şamandıra | Paslanmaz Çelik |
| 4 | Süzgeç | Paslanmaz Çelik |
| 5 | Segman | A3 |
| 6 | Kapak | Karbon Çelik |
| 7 | Isıya Duyarlı Termostatik X-Elaman | Hastelloy |
| 8 | Hava Atıcı Siti | Paslanmaz Çelik |
| 9 | Kör Tapa | 45 |
| 10 | Orifis Tespit Civatası | Paslanmaz Çelik |
| 11 | Orifis | Paslanmaz Çelik |
| 12 | Conta | Çelik |
| 13 | Kapak Tapası | Çelik |
| 14 | Kapak Contası | Paslanmaz Çelik + Grafit |
| 15 | Saplama | SAE GR.5 |
| 16 | Somun | SAE GR.5 |
| Çap | L | H1 | H2 |
| 1/2" | 150 mm | 114 mm | 57 |
| 3/4" | 150 mm | 114 mm | 57 |
| 1" | 150 mm | 110 mm | 57 |
| 11/4" | 155 mm | 113 mm | 55 |
| 11/2" | 155 mm | 113 mm | 55 |
| 2" | 210 mm | 113 mm | 55 |
| BAĞLANTI ŞEKLİ | DİŞLİ | |||||
| ÇAPLAR | 1/2" | 3/4" | 1" | 11/4" | 11/2" | 2" |
| AĞIRLIKLAR | 5,5 | 5,5 | 5,5 | 6,5 | 7 | 7,5 |
| ÇALIŞMA ŞARTLARI | |
| MAX. SICAKLIK (ºC) | 220 |
| MAX. ÇALIŞMA BASINCI ( bar ) | 16 |
| MAX: FARK BASINCI ( bar ) | 8 |